Description
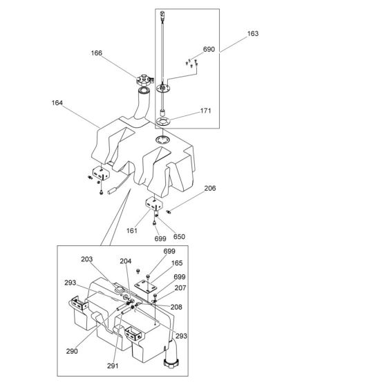
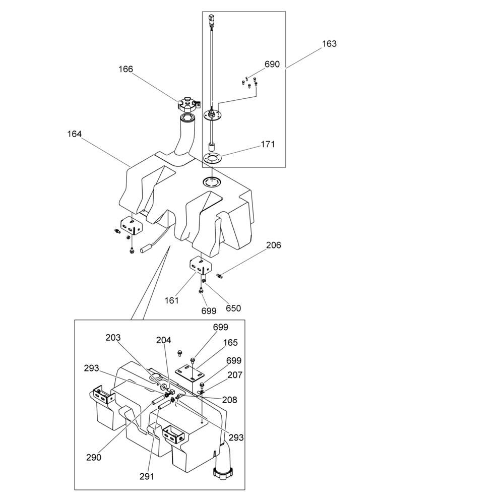
The Fuel Tank Assembly for the Wacker RD16 Roller is designed to ensure optimal fuel storage and delivery for efficient operation. This assembly includes components such as the tank, caps, and fittings, essential for maintaining the roller's performance. Genuine Wacker Neuson parts ensure compatibility and reliability, supporting the roller's functionality in various construction tasks.
Reviews
Add a review
Write Your Own Review
Ask a Question
Customer Questions

