Description
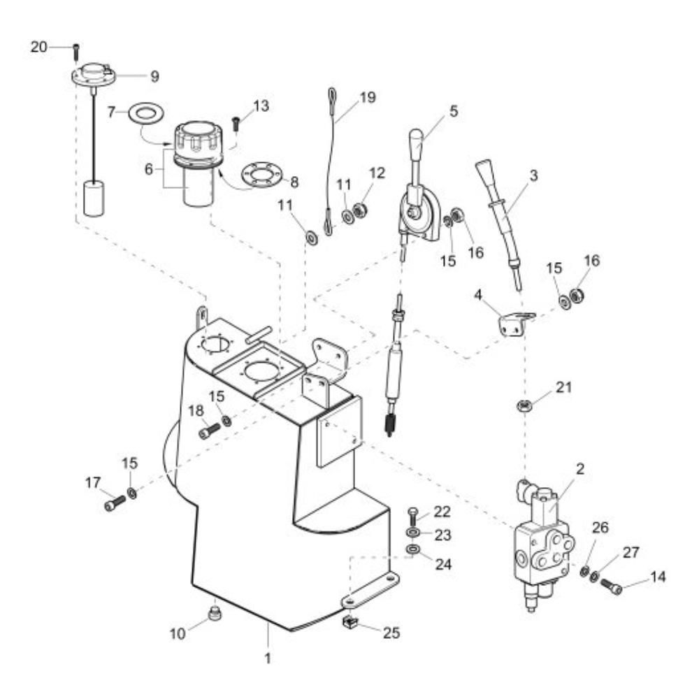
The Fuel Tank Assembly for the Wacker TD15 Track Dumper is designed to ensure optimal fuel storage and delivery. This assembly includes components essential for maintaining fuel integrity and performance, such as caps, hoses, and fittings. It is crucial for the reliable operation of the dumper, helping to prevent leaks and ensure efficient fuel use.
Reviews
Add a review
Write Your Own Review
Ask a Question
Customer Questions

