Description
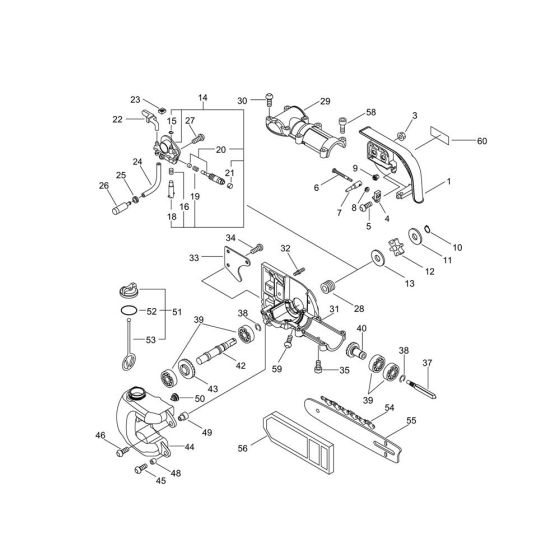
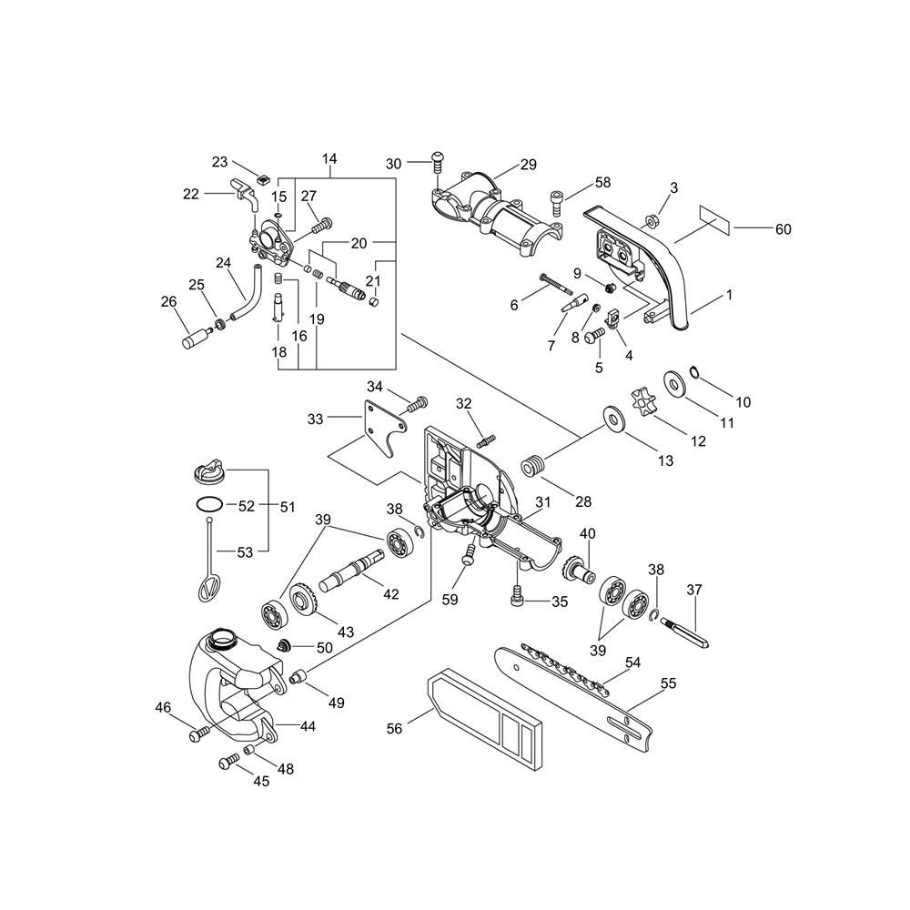
The Gear Case, Guide Bar, and Chain for the Shindaiwa PT266S Pole Pruner are essential for maintaining optimal cutting performance. The gear case ensures smooth operation, while the guide bar and chain provide precise cutting capabilities. Available in genuine and non-genuine parts, these components are crucial for efficient pruning and long-term reliability.
Reviews
Add a review
Write Your Own Review
Ask a Question
Customer Questions

