Description
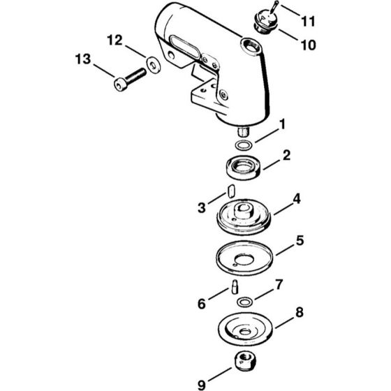
The Gear Head Assembly for Stihl FS200 and FS202 Clearing Saws is essential for efficient cutting performance. It includes components like gears, shafts, and bearings, ensuring smooth operation and durability. Designed for both genuine and non-genuine parts, this assembly helps maintain the saw's functionality and extends its lifespan.
Reviews
Add a review
Write Your Own Review
Ask a Question
Customer Questions

