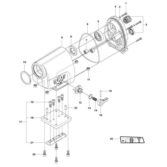
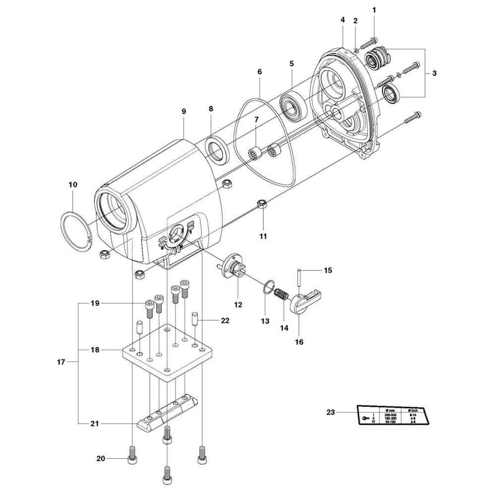
Description
The Gearbox Assembly for the Husqvarna DM 330 Core Drill is designed to ensure optimal performance and longevity. This assembly includes key components such as gears, shafts, and bearings, which work together to transfer power efficiently. Regular maintenance of these parts helps in achieving precise drilling operations and extends the life of the core drill.
Reviews
Add a review
Write Your Own Review
Ask a Question
Customer Questions

