Description
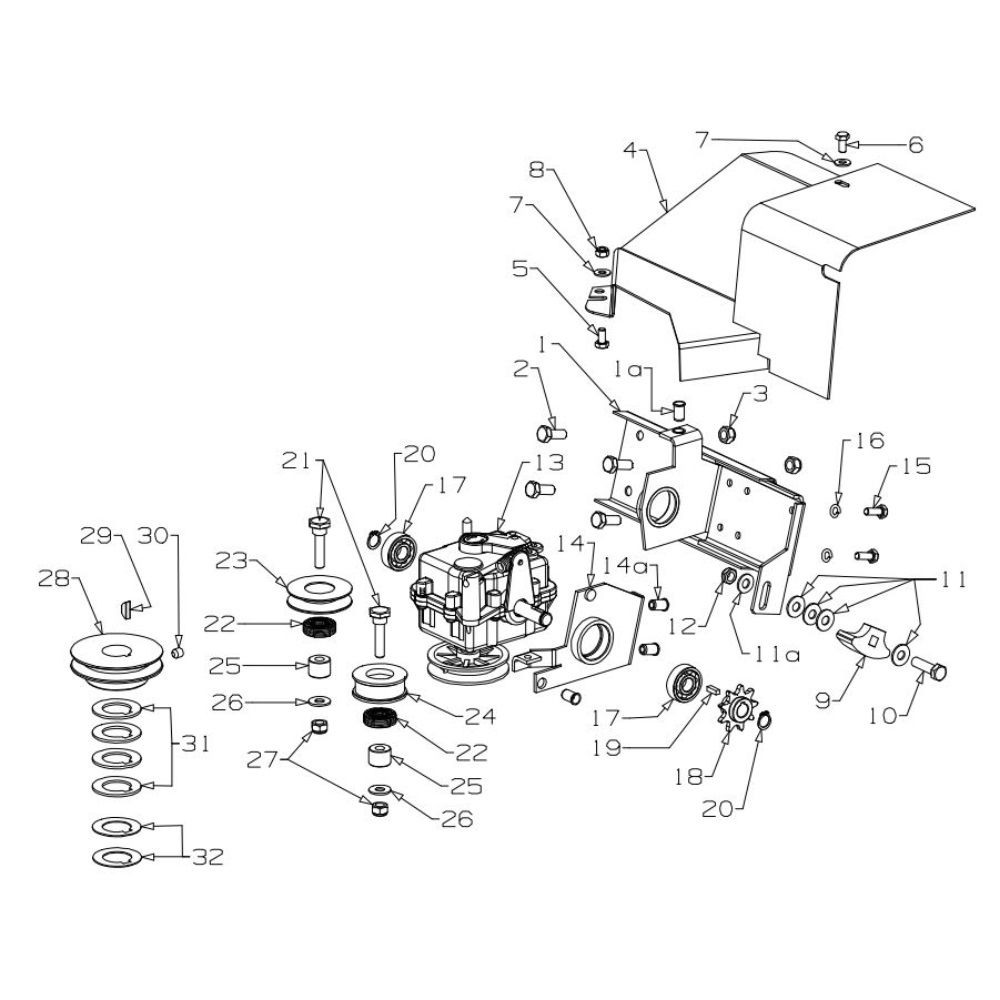
The Gearbox Assembly for the Masport RR21SP 2015 Oct Mower is crucial for efficient operation and smooth performance. This assembly includes components such as gears, shafts, and bearings, ensuring optimal power transmission and durability. Suitable for routine maintenance and repairs, it helps maintain the mower's functionality and longevity.
Reviews
Add a review
Write Your Own Review
Ask a Question
Customer Questions

