Description
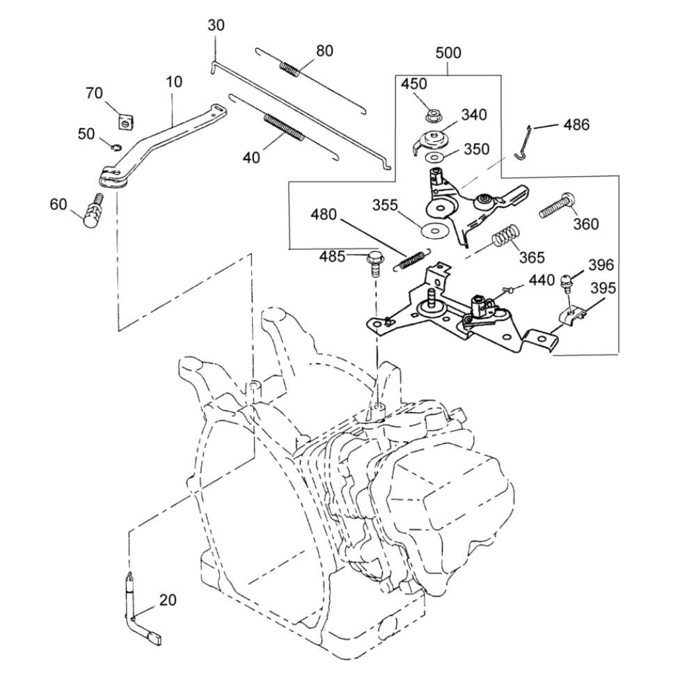
The Governor Control Assembly for the Wacker PG2 Pump is essential for regulating engine speed and maintaining optimal performance. This assembly includes components such as springs, levers, and linkages, ensuring precise control and efficient operation. Designed specifically for the Wacker Neuson Clear Water Pump, it helps in achieving consistent water flow and pump reliability.
Reviews
Add a review
Write Your Own Review
Ask a Question
Customer Questions

