Description
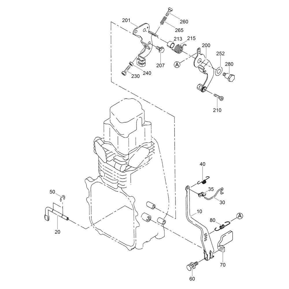
The Governor Assembly for the Wacker WM 100 Engine is designed to regulate engine speed and ensure optimal performance. It includes components such as springs, levers, and linkages, which work together to maintain consistent engine operation. Essential for routine maintenance, this assembly helps in reducing wear and prolonging engine life.
Reviews
Add a review
Write Your Own Review
Ask a Question
Customer Questions

