Description
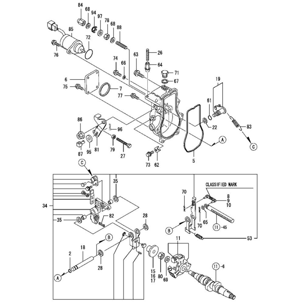
The Governor Assembly for the Yanmar 4TNE88-RBS1 Engine is crucial for regulating engine speed and ensuring optimal performance. This assembly includes components such as springs, levers, and gears that work together to maintain consistent engine operation. Designed for durability and precision, it helps in achieving efficient fuel usage and reliable engine control.
Reviews
Add a review
Write Your Own Review
Ask a Question
Customer Questions

