Description
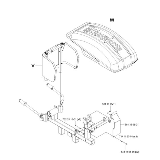
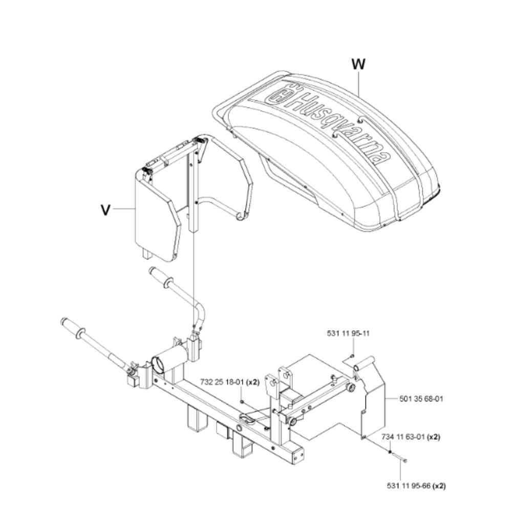
The Guard Assembly for the Husqvarna CS 2512 Wire Saw is designed to protect the machine and ensure safe operation. This assembly includes essential components such as guards and fasteners, which help maintain the saw's performance and longevity. Ideal for routine maintenance, it ensures the wire saw operates efficiently and safely.
Reviews
Add a review
Write Your Own Review
Ask a Question
Customer Questions

