Description
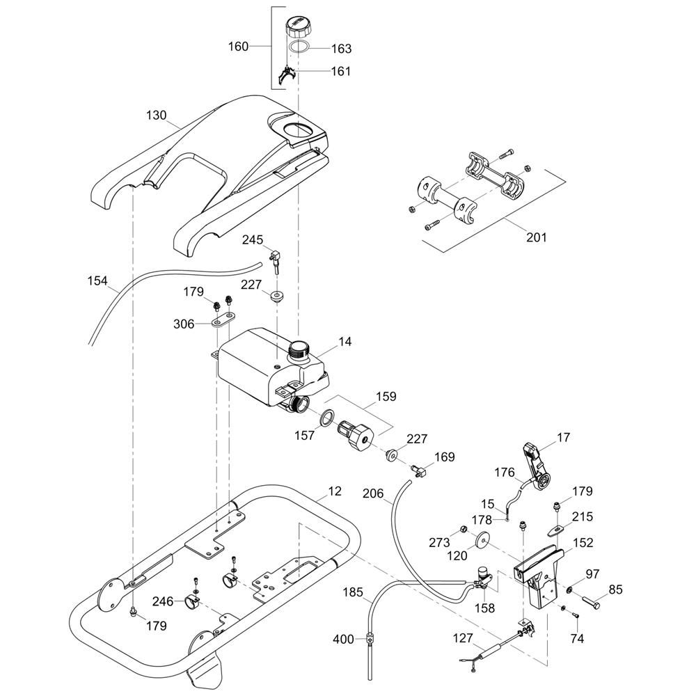
The Guide Handle Assembly for the Wacker BS50-4s Trench Rammer is designed to ensure precise control and ease of operation. This assembly includes components like grips, brackets, and fasteners, essential for maintaining the rammer's functionality. Genuine Wacker Neuson parts ensure compatibility and durability, supporting effective trench compaction tasks.
Reviews
Add a review
Write Your Own Review
Ask a Question
Customer Questions

