Description
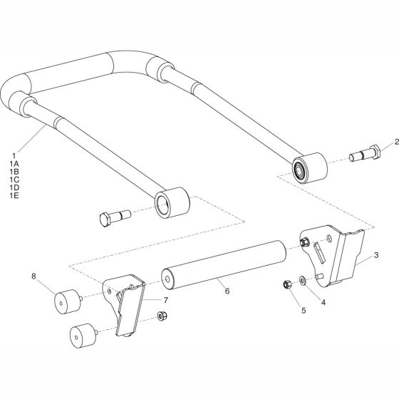
The Handle Assembly for Altrad Belle PCL1236 and PCX1340 Forward Plate Compactors is crucial for operator control and machine manoeuvrability. This assembly includes components such as grips, levers, and brackets, ensuring effective operation and comfort. Available in genuine and non-genuine parts, it supports maintenance and repair needs.
Reviews
Add a review
Write Your Own Review
Ask a Question
Customer Questions

