Description
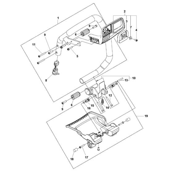
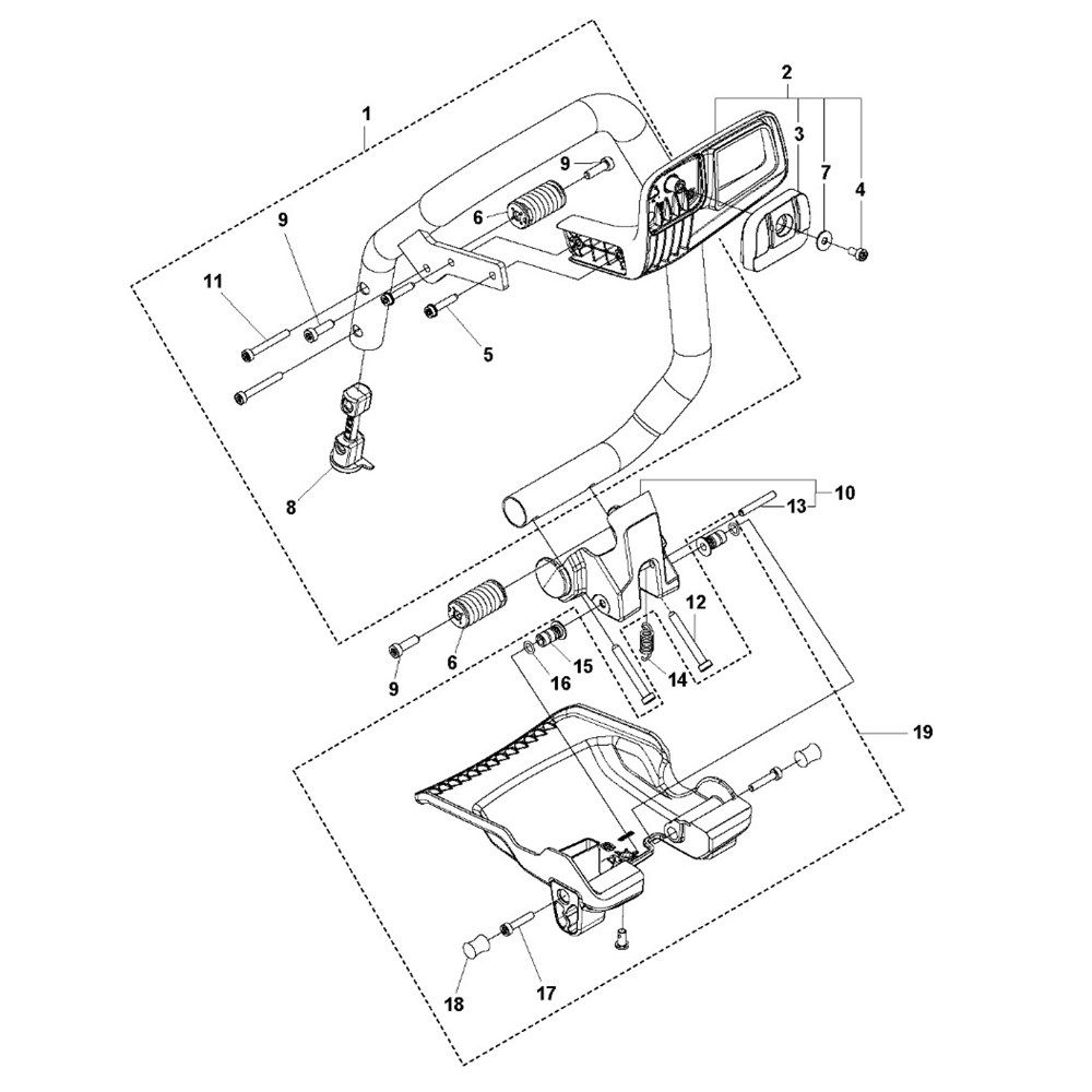
The Handle Assembly for the Husqvarna K7000 Chain Disc Cutter is designed to provide stability and control during cutting operations. This assembly includes essential components such as grips, brackets, and fasteners, ensuring a secure and comfortable handling experience. Genuine Husqvarna parts ensure compatibility and reliability, enhancing the performance of your disc cutter.
Reviews
Add a review
Write Your Own Review
Ask a Question
Customer Questions

