Description
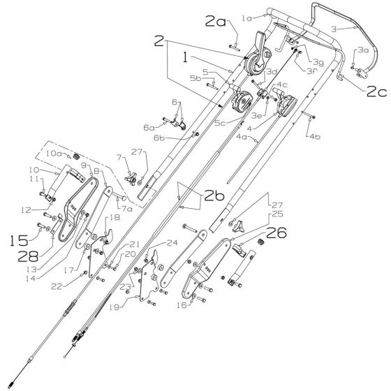
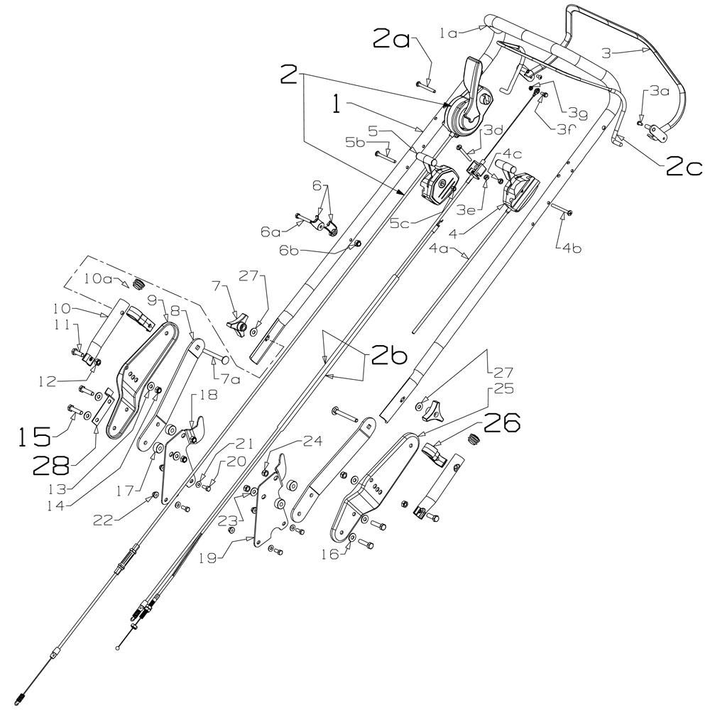
The Handle Assembly for the Masport Contractor (2019 Sep 465792) Mower is designed to provide robust support and control during mowing tasks. This assembly includes essential components such as grips, brackets, and fasteners, ensuring a secure and comfortable operation. Genuine Masport parts guarantee compatibility and durability, maintaining the mower's performance and reliability.
Reviews
Add a review
Write Your Own Review
Ask a Question
Customer Questions

