Description
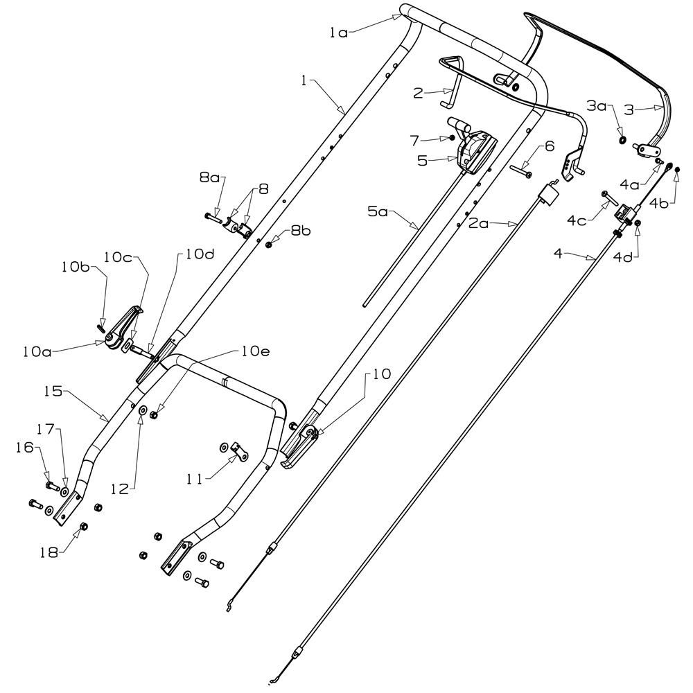
The Handle Assembly for the Morrison Maximus L Power Drive Mower is designed to ensure optimal control and comfort during mowing. This assembly includes components such as grips, levers, and brackets, tailored to fit the 2018 Dec 465753 model. It provides a sturdy connection between the user and the mower, enhancing manoeuvrability and ease of use. Genuine Morrison parts ensure compatibility and durability.
Reviews
Add a review
Write Your Own Review
Ask a Question
Customer Questions

