Description
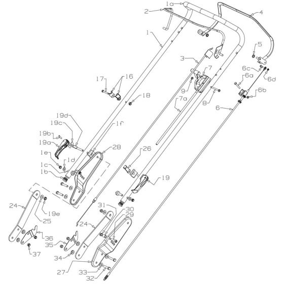
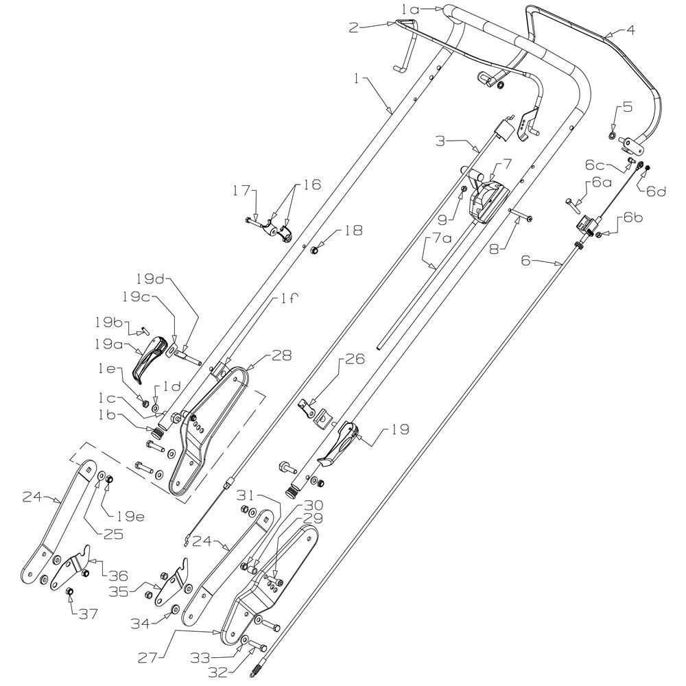
The Handle Assembly for the Morrison Prosmart SP Power Drive Mower is designed to provide optimal control and comfort during mowing. This assembly includes components such as grips, levers, and brackets, ensuring a secure and ergonomic operation. Suitable for the 2021 Jun 465872 model, it helps maintain the mower's efficiency and ease of use.
Reviews
Add a review
Write Your Own Review
Ask a Question
Customer Questions

