Description
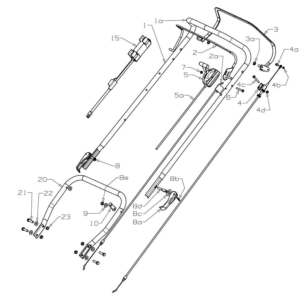
The Handle Assembly for the Morrison Titan IS (2022 Jan 465921) Power Drive Mower is designed to ensure optimal control and comfort during mowing. This assembly includes components such as grips, levers, and brackets, which are essential for manoeuvring and operating the mower efficiently. Genuine Morrison parts ensure compatibility and reliability.
Reviews
Add a review
Write Your Own Review
Ask a Question
Customer Questions

