Description
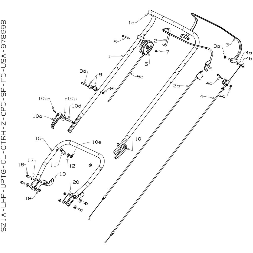
The Handle Group for the Masport 800ST 2014 Jul Mower includes essential components for maintaining and repairing the mower's handle system. Designed to ensure optimal control and comfort during operation, this group features various parts such as grips, levers, and brackets. Available in both genuine and non-genuine Masport options, it supports the mower's functionality and longevity.
Reviews
Add a review
Write Your Own Review
Ask a Question
Customer Questions

