Honda HRH536 HXE Pro Lawn Mower Parts
Spares for Honda HRH536 HXE (Pro) Lawn Mowers - MZBU 8000001-8099999
Spares for Honda HRH536 HXE (Pro) Lawn Mowers - MZBU 8000001-8099999
Shop by diagram

Honda HRH536 - HXE Label

Grass Bag for Honda HRH536

Rotary Blade for Honda HRH536

Cutter Housing for Honda

Front Wheel for Honda HRH536

Rear Wheel for Honda HRH536

Joint for Honda HRH536

Transmission for Honda HRH536

Throttle Lever for Honda HRH536

Handle for Honda HRH536

Gasket for Honda HRH536

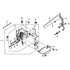
Control for Honda HRH536

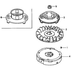
Flywheel for Honda HRH536

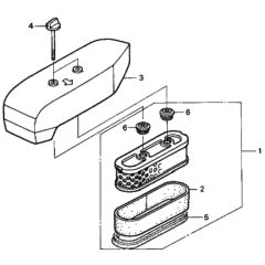
Air Cleaner for Honda HRH536

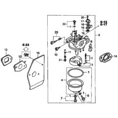
Carburetor for Honda HRH536

Fan Cover for Honda HRH536

Recoil Starter for Honda HRH536

Camshaft for Honda HRH536

Crankshaft/Piston for Honda HRH536

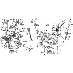
Cylinder Barrel/Oil Pan for Honda

Cylinder Head for Honda HRH536
All products
-
6mm Plain Washer Fits Honda GHX50 - 94101-06800£1.08 £0.90
-
Fuel Shut Off Tap for Honda GX Range - 16953 ZE1 812£12.22 £10.18
-
R/H Arm Fits Front Wheel Adjuster HRH536 - 42911-VG0-000£29.46 £24.55