Honda HRH536K1 HXE Pro Lawn Mower Parts
Spares for Honda HRH536K1 HXE (Pro) Lawn Mowers - MZBU 8100001-8199999
Spares for Honda HRH536K1 HXE (Pro) Lawn Mowers - MZBU 8100001-8199999
Shop by diagram

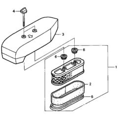
Honda HRH536K1 Label

Grass Bag for Honda HRH536K1

Rotary Blade for Honda HRH536K1

Cutter Housing for Honda

Front Wheel for Honda Mower

Rear Wheel for Honda HRH536K1

Joint for Honda HRH536K1

Transmission for Honda HRH536K1

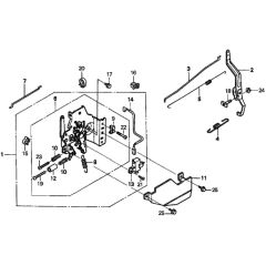
Throttle Lever for Honda HRH536K1

Handle for Honda HRH536K1

Gasket for Honda HRH536K1

Control for Honda HRH536K1

Flywheel for Honda HRH536K1

Muffler for Honda HRH536K1

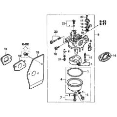
Air Cleaner for Honda HRH536K1

Carburetor for Honda HRH536K1

Fan Cover for Honda HRH536K1

Recoil Starter for Honda HRH536K1

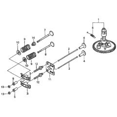
Camshaft for Honda HRH536K1

Crankshaft/Piston for Honda HRH536K1

Cylinder Barrel/Oil Pan for Honda

Cylinder Head for Honda HRH536K1
All products
-
6mm Plain Washer Fits Honda GHX50 - 94101-06800£1.08 £0.90
-
Fuel Shut Off Tap for Honda GX Range - 16953 ZE1 812£12.22 £10.18
-
R/H Arm Fits Front Wheel Adjuster HRH536 - 42911-VG0-000£29.46 £24.55