Description
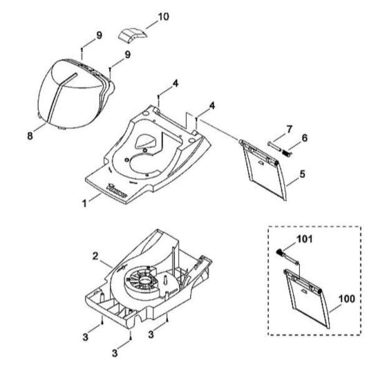
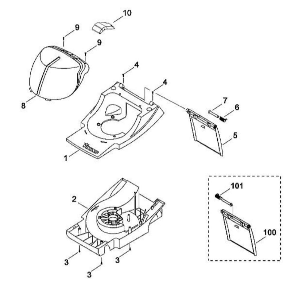
The Housing Assembly for Viking MA 400 Mowers is a genuine Viking part designed to ensure optimal performance and durability. This assembly includes key components such as the casing, fasteners, and protective covers, which are essential for maintaining the mower's structural integrity and safeguarding internal mechanisms. Ideal for routine maintenance and repairs, it helps extend the lifespan of your mower.
Reviews
Add a review
Write Your Own Review
Ask a Question
Customer Questions

