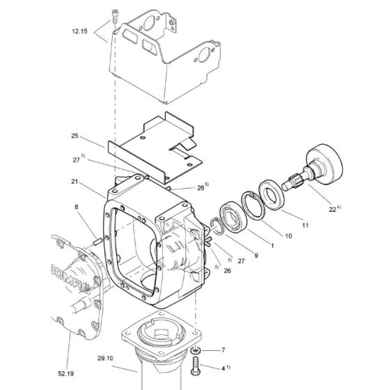
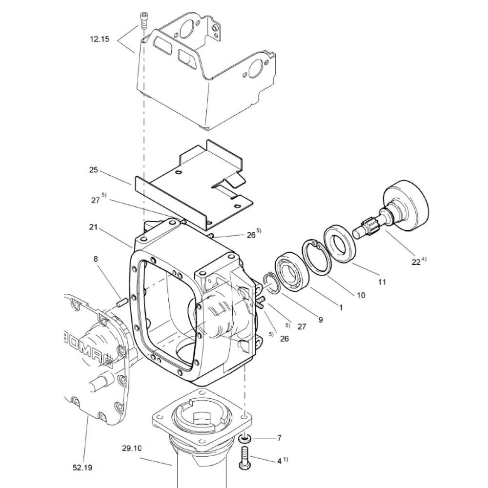
Description
Housing for Bomag BT60/4 Rammers is designed to protect and support the internal components of the machine. This essential part ensures the durability and efficiency of the rammer during operation. Available in both genuine and non-genuine options, the housing is crucial for maintaining the structural integrity and performance of the equipment.
Reviews
Add a review
Write Your Own Review
Ask a Question
Customer Questions

