Description
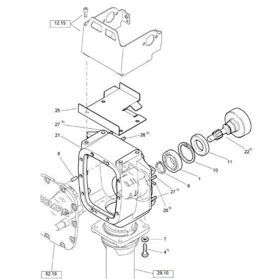
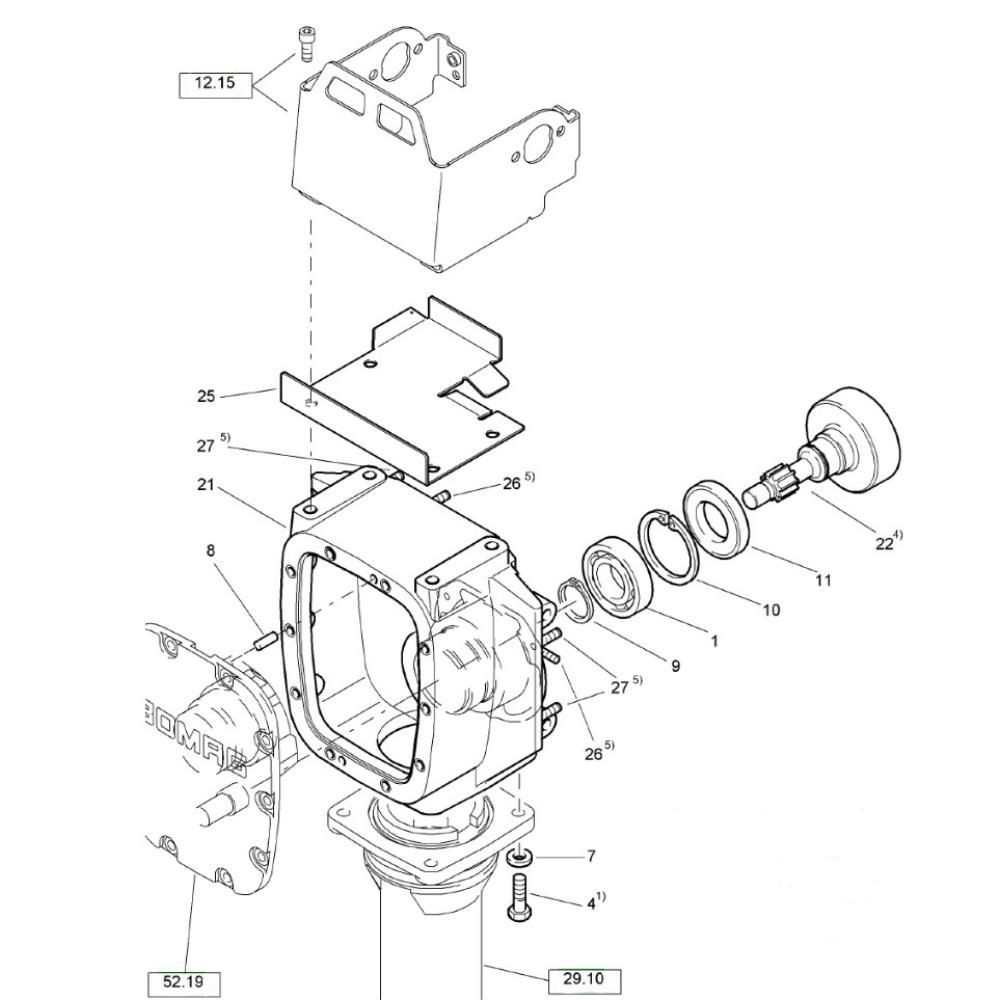
Housing for Bomag BT65/4 Rammers is essential for protecting internal components and ensuring optimal performance. Available in both genuine and non-genuine options, these housings are designed to fit the Bomag BT65/4 model precisely. They provide robust protection against environmental elements and mechanical wear, contributing to the longevity and reliability of the rammer.
Reviews
Add a review
Write Your Own Review
Ask a Question
Customer Questions

