Description
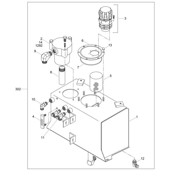
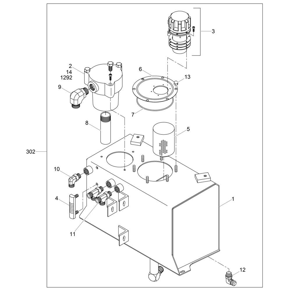
The Hydraulic Tank Assembly for the Wacker RT56-SC Trench Roller is crucial for maintaining hydraulic fluid levels and ensuring efficient operation. This assembly includes components such as tanks, seals, and fittings, designed to support the roller's hydraulic system. Genuine Wacker Neuson parts ensure compatibility and reliability for optimal performance.
Reviews
Add a review
Write Your Own Review
Ask a Question
Customer Questions

