Description
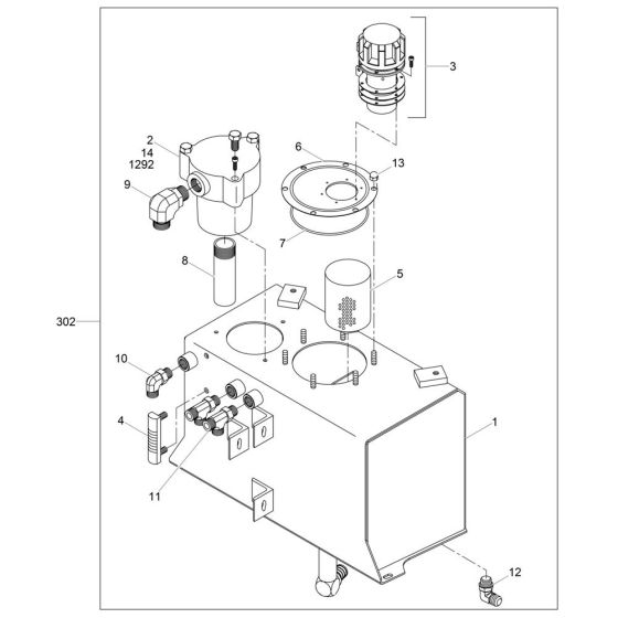
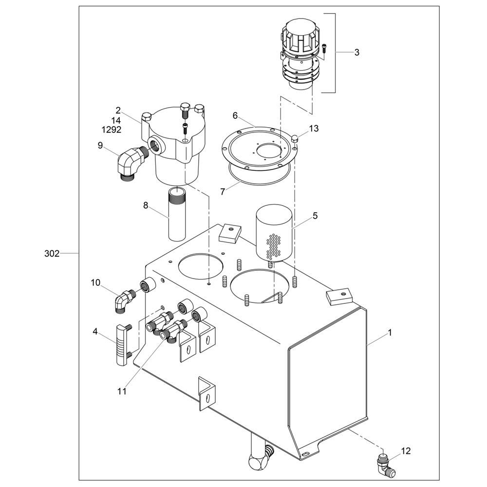
The Hydraulic Tank Assembly for the Wacker RT82-SC Trench Roller is designed to ensure efficient hydraulic fluid storage and distribution. This assembly is crucial for maintaining the roller's operational performance, helping to prevent leaks and ensure smooth hydraulic function. Components may include tanks, seals, and hoses, all tailored for the Wacker Neuson model.
Reviews
Add a review
Write Your Own Review
Ask a Question
Customer Questions

