Description
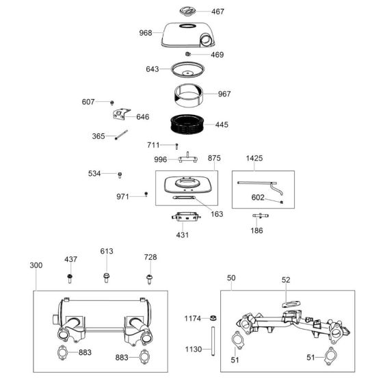
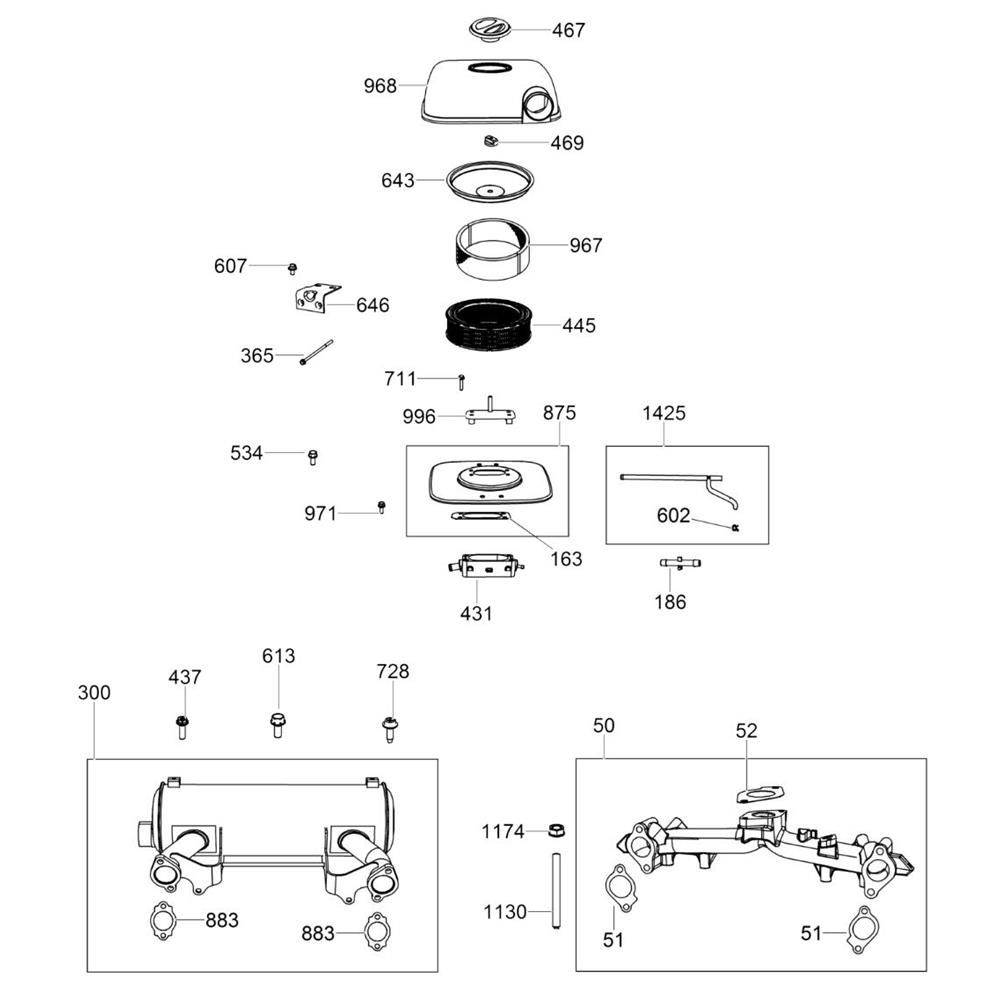
The Intake and Exhaust Assembly for the Wacker CRT 48-37 Trowel includes vital components to ensure optimal engine performance. This assembly facilitates efficient air intake and exhaust flow, crucial for maintaining engine health and efficiency. Genuine Wacker Neuson parts are available, including manifolds, gaskets, and pipes, designed to fit the CRT 48-37 model precisely.
Reviews
Add a review
Write Your Own Review
Ask a Question
Customer Questions

