Description
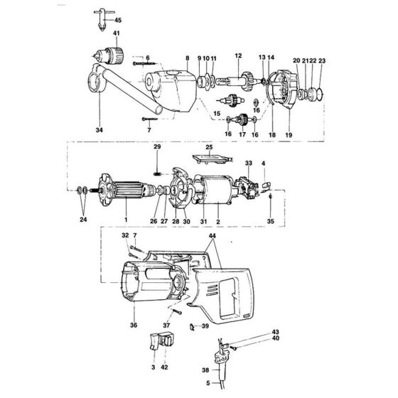
The Main Assembly for the DeWalt DW133 Type 1 Percussion Drill includes key components essential for optimal performance and durability. This genuine DeWalt part ensures reliable operation, featuring elements such as gears, bearings, and housing. Designed for precision drilling tasks, it supports efficient power transfer and reduces wear.
Reviews
Add a review
Write Your Own Review
Ask a Question
Customer Questions

