Description
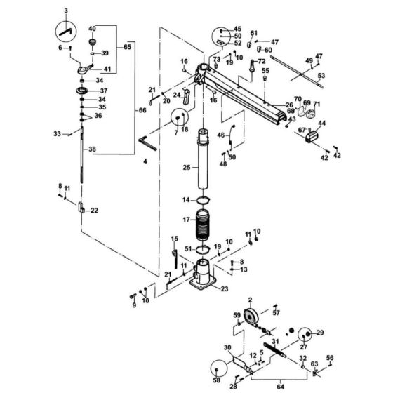
The Main Assembly for the DeWalt DW728-TYPE-1 Radial Arm Saw includes key components essential for the machine's operation. This genuine DeWalt part ensures precise cutting and reliable performance. Components may include brackets, levers, and fasteners, designed to maintain the saw's accuracy and durability. Suitable for routine maintenance and repair tasks.
Reviews
Add a review
Write Your Own Review
Ask a Question
Customer Questions

