Description
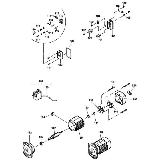
The Main Assembly for the DeWalt DW738 Type 1 Bandsaw includes key components essential for the machine's operation and longevity. This genuine DeWalt part ensures optimal performance and reliability. Typical components may include drive belts, tension springs, and guide bearings, all crucial for maintaining cutting precision and efficiency.
Reviews
Add a review
Write Your Own Review
Ask a Question
Customer Questions

