Description
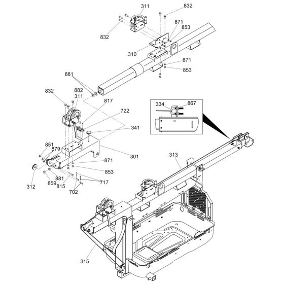
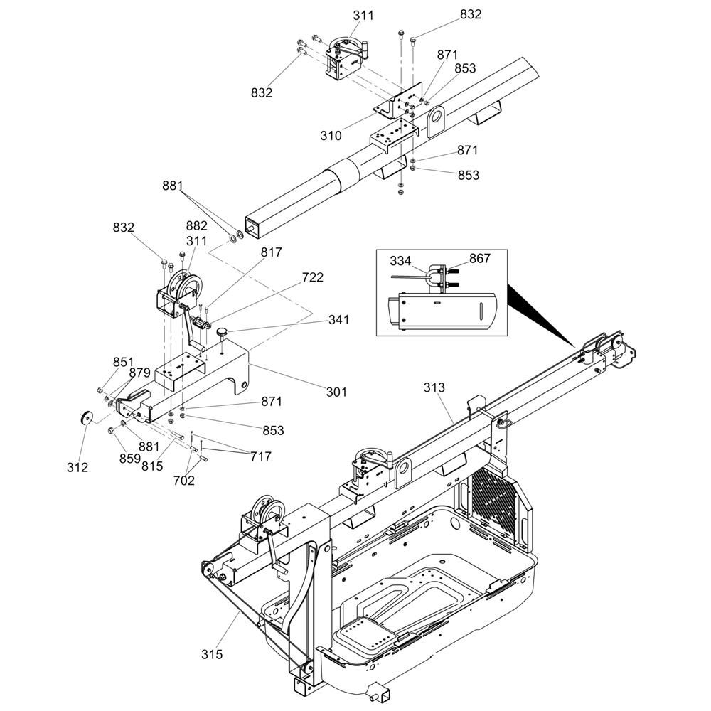
The Manual Winch Assembly for the Wacker LTC6L Lighting Tower is essential for raising and lowering the tower efficiently. This assembly includes key components such as gears, cables, and handles, ensuring smooth operation and stability. Designed for durability and reliability, it supports the tower's functionality in various environments.
Reviews
Add a review
Write Your Own Review
Ask a Question
Customer Questions

