Description
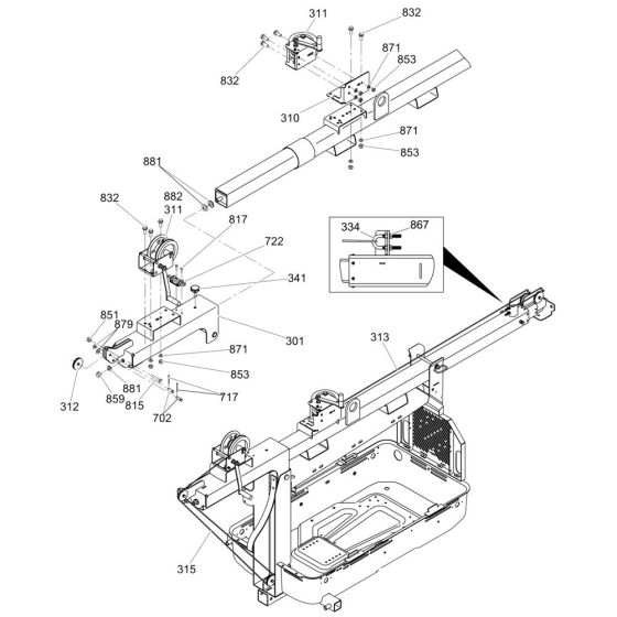
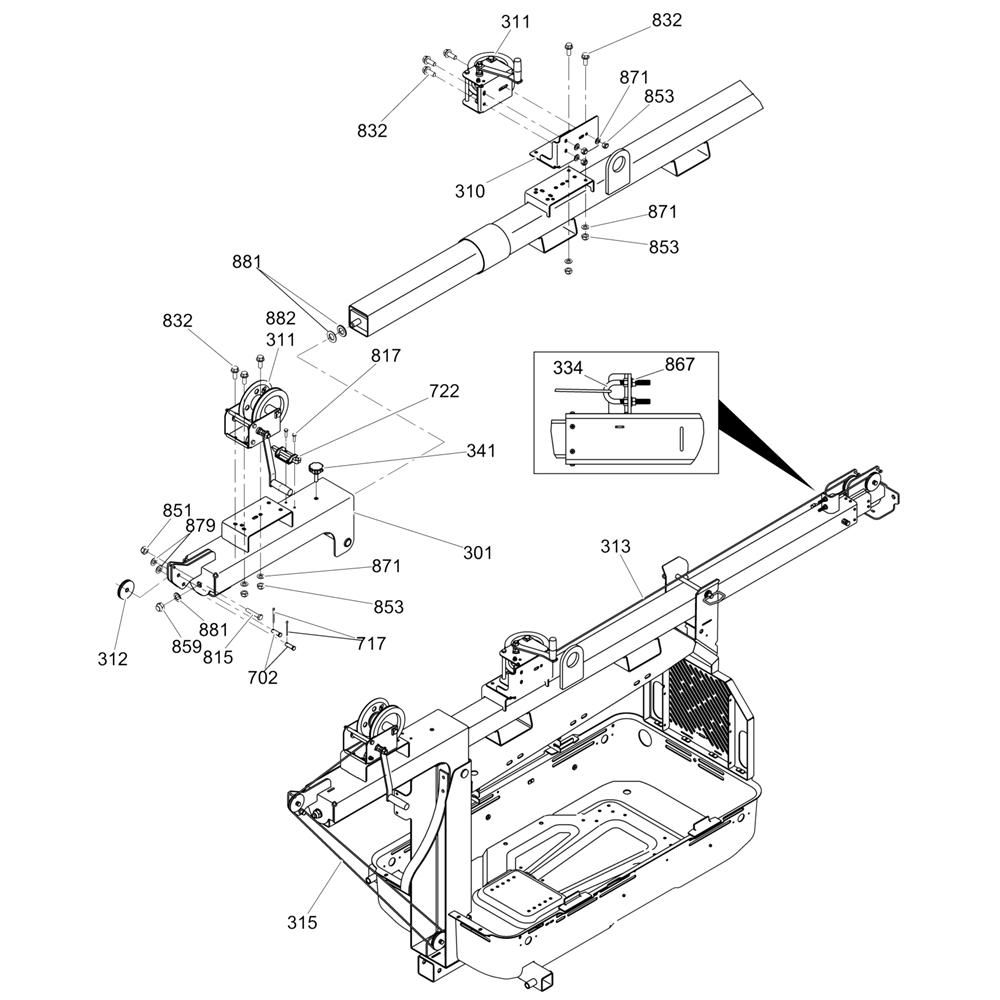
The Manual Winch Assembly for the Wacker LTN6C Lighting Tower is essential for the safe and efficient operation of the tower. This assembly includes components such as cables, gears, and handles, designed to facilitate the raising and lowering of the lighting mast. Ensuring proper function, it helps maintain stability and performance in various conditions.
Reviews
Add a review
Write Your Own Review
Ask a Question
Customer Questions

