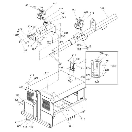
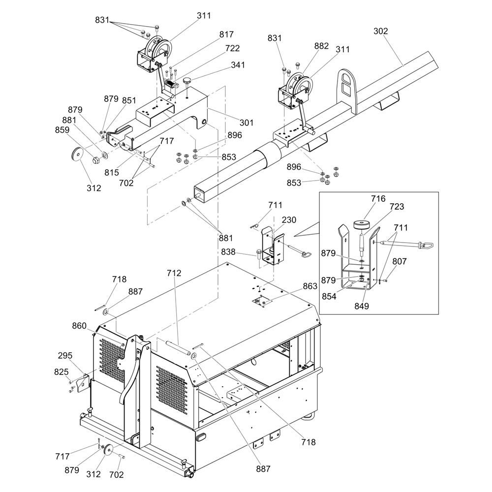
Description
The Manual Winch Assembly for the Wacker LTW20Z1 Lighting Tower is essential for the safe and efficient raising and lowering of the tower mast. This assembly includes components such as cables, pulleys, and handles, ensuring smooth operation and stability during use. Designed specifically for the Wacker Neuson model, it helps maintain optimal performance and safety standards.
Reviews
Add a review
Write Your Own Review
Ask a Question
Customer Questions

