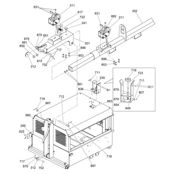
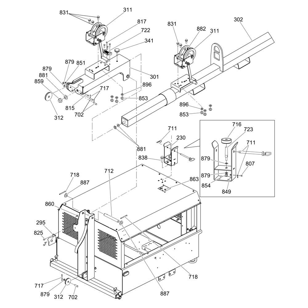
Description
The Manual Winch Assembly for the Wacker LTW6K Lighting Tower is essential for adjusting the tower height safely and efficiently. This assembly includes components such as cables, pulleys, and handles, ensuring smooth operation and stability. Designed for durability, it helps maintain optimal lighting performance in various environments.
Reviews
Add a review
Write Your Own Review
Ask a Question
Customer Questions

