Description
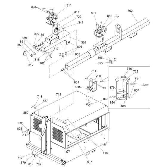
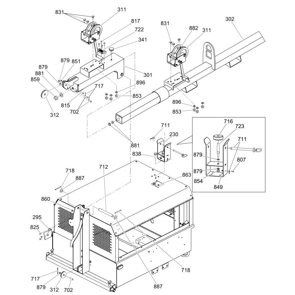
The Manual Winch Assembly for the Wacker LTW8K Lighting Tower is essential for efficient operation and maintenance. It includes components like gears, cables, and handles, ensuring smooth raising and lowering of the tower. Designed for durability and reliability, this assembly helps maintain optimal performance of the lighting tower in various conditions.
Reviews
Add a review
Write Your Own Review
Ask a Question
Customer Questions

