Description
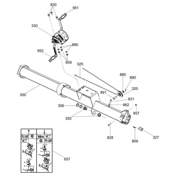
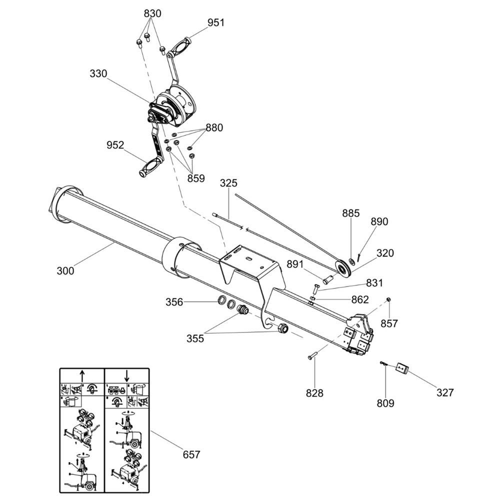
The Manual Winch Assembly for the Wacker Neuson LTV6L Lighting Tower is designed to facilitate the raising and lowering of the tower mast. This assembly includes components such as cables, pulleys, and handles, ensuring smooth operation and stability. Essential for maintaining optimal lighting performance, it supports efficient and safe adjustments in various environments.
Reviews
Add a review
Write Your Own Review
Ask a Question
Customer Questions

