Description
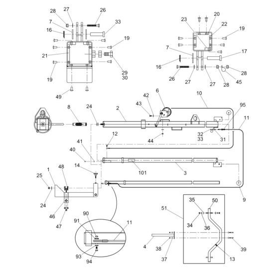
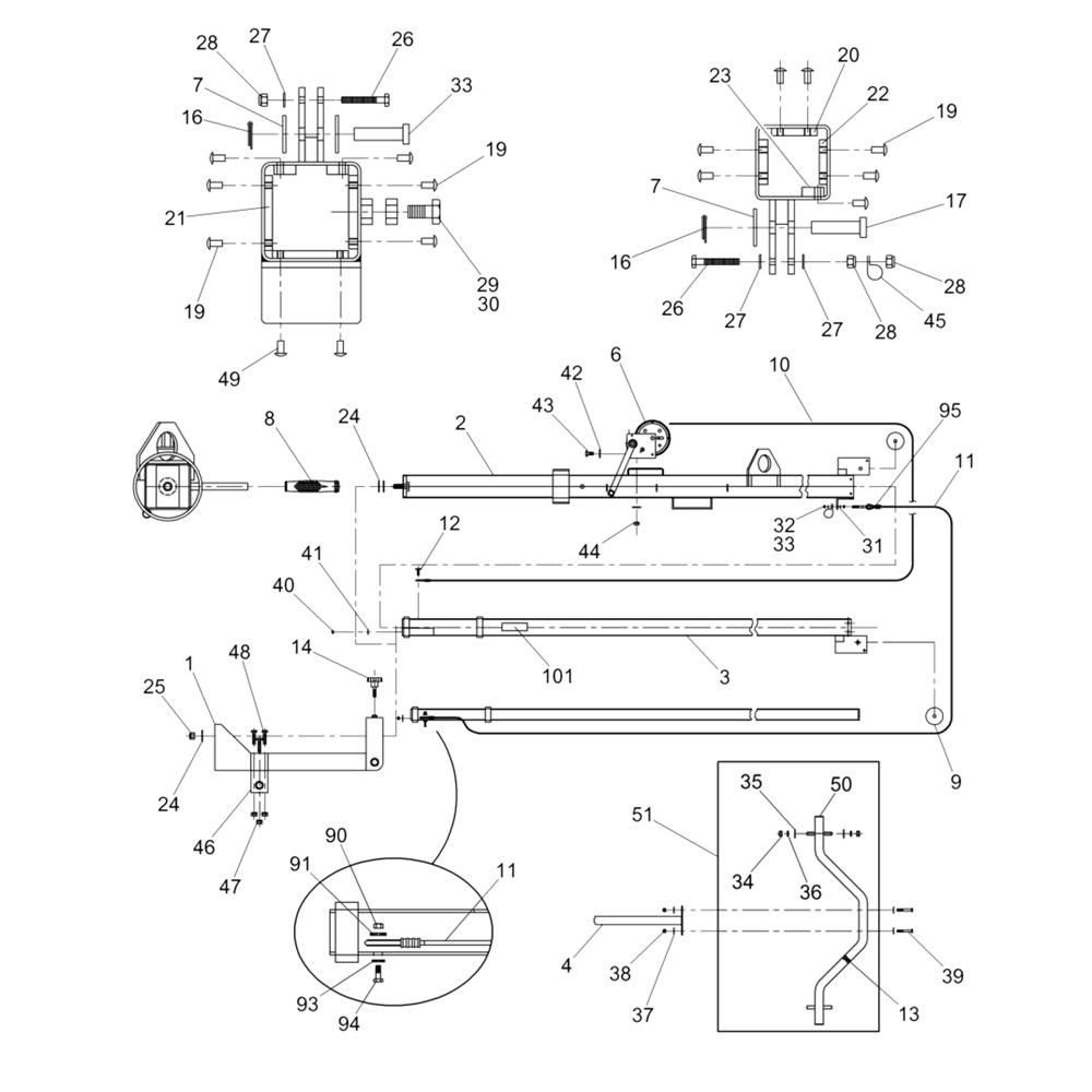
The Mast Assembly for the Wacker LTC4L Lighting Tower is designed to ensure optimal performance and stability. This assembly includes key components such as brackets, pulleys, and cables, which are essential for the safe and efficient operation of the lighting tower. Genuine Wacker Neuson parts ensure compatibility and reliability, making it suitable for both maintenance and repair tasks.
Reviews
Add a review
Write Your Own Review
Ask a Question
Customer Questions

