Description
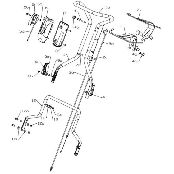
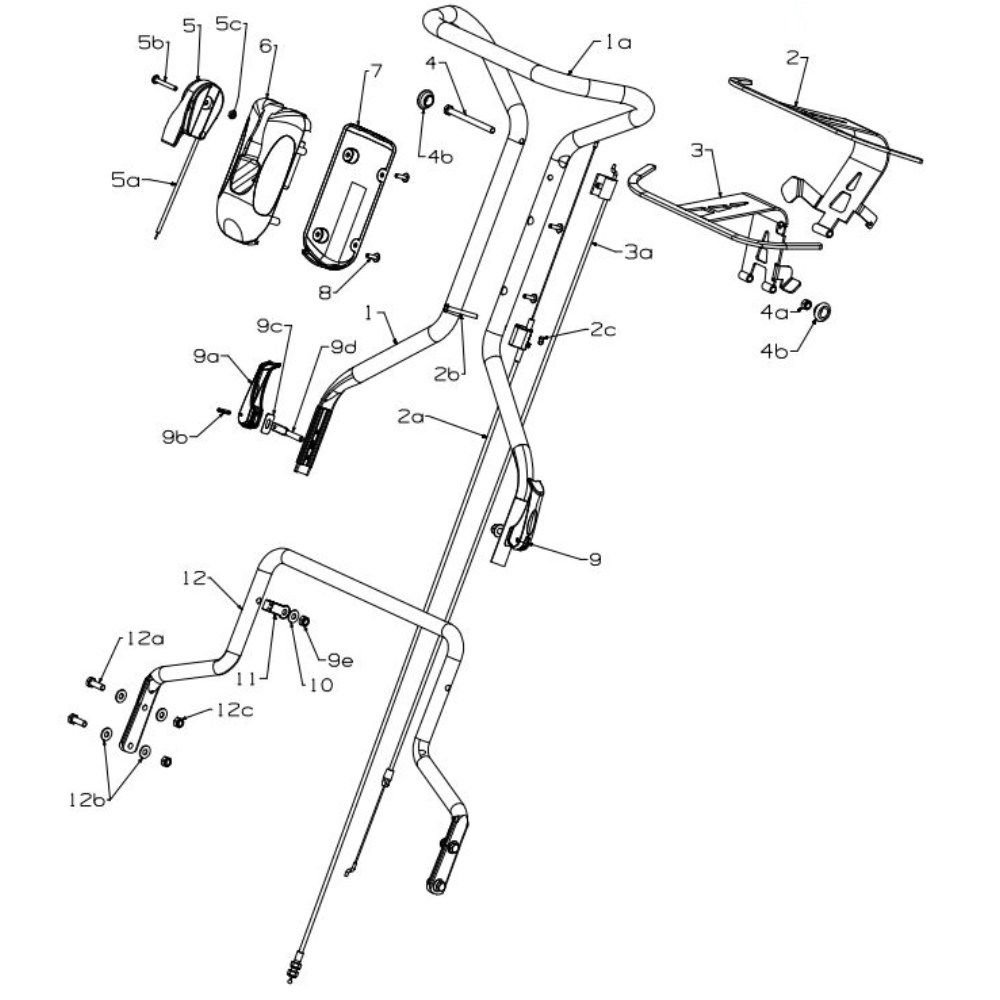
The MSV Handle Assembly for the Masport 600 (2014) Mower includes essential components to ensure optimal handling and control during mowing. Designed for durability and compatibility, this assembly helps maintain the mower's performance. Available parts may include grips, brackets, and fasteners, suitable for both genuine and non-genuine Masport replacements.
Reviews
Add a review
Write Your Own Review
Ask a Question
Customer Questions

