
Paslode IM90i (NiMH) Parts
Genuine and Non-Genuine Spares for Paslode IM90i (NiMH) Nail Gun. Wide selection of Paslode Parts available in stock for next day delivery including filters, batteries and service kits. Paslode parts diagrams are available to break down assemblies and identify parts required.
Genuine and Non-Genuine Spares for Paslode IM90i (NiMH) Nail Gun. Wide selection of Paslode Parts available in stock for next day delivery including filters, batteries and service kits. Paslode parts diagrams are available to break down assemblies and identify parts required.
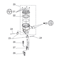
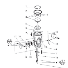
Shop by diagram
All products
-
New Type Cleaning Kit For Paslode Nail Guns (013690)£43.99 £36.66 -
Electrovalve Heat Protection for Paslode IM360Ci, PPN35Ci Nailers - 013812Was £13.97 £11.64 Special Price £11.17 £9.31VIEW -
Nail Channel (LONG) for Paslode IM360Ci, IM90i Nail Guns - 013766Was £77.35 £64.46 Special Price £61.88 £51.57 -
Bracket Fuel Line for Paslode IM90i, PPN35i, IM360Ci Nail Guns - 013738Was £8.33 £6.94 Special Price £6.66 £5.55 -
Motor Assembly for Paslode/Spit IM90i Nail Gun/Stapler - 013287£221.40 £184.50 -
Handle Assembly for Paslode/Spit IM90i Nail Gun/Stapler - 013768£158.28 £131.90