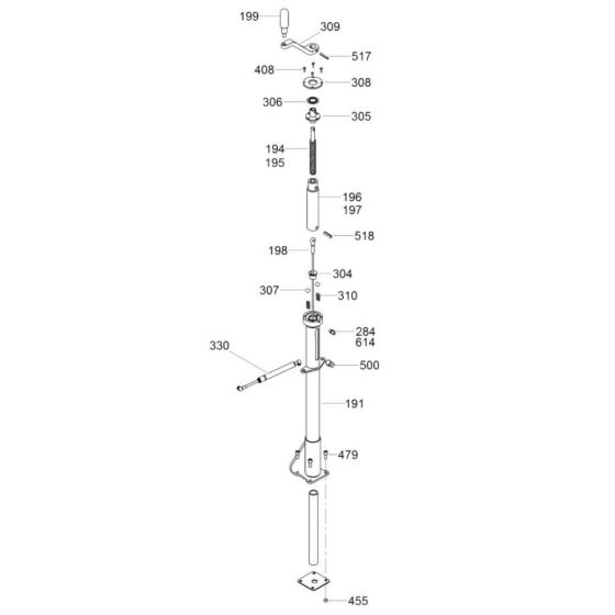
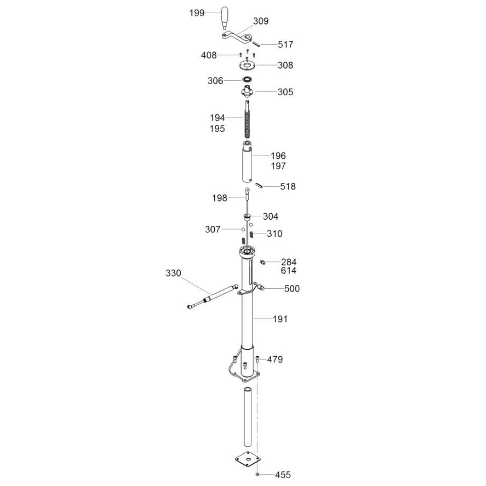
Description
The Pitch Control Assembly for the Wacker CRT 48-35V Trowel is essential for precise operation and maintenance. This assembly includes components like levers and springs, ensuring accurate pitch adjustments for optimal surface finishing. Designed for the Wacker Neuson Ride-On Trowel, it enhances performance and durability, supporting efficient and smooth troweling tasks.
Reviews
Add a review
Write Your Own Review
Ask a Question
Customer Questions

