Description
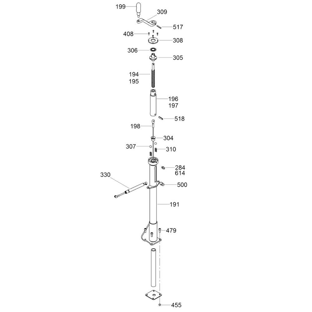
The Pitch Control Assembly for the Wacker CRT 48-57 K-MS Trowel is essential for precise operation and performance. It includes components that adjust the blade angle, ensuring optimal surface finishing. This assembly helps maintain the machine's efficiency and is crucial for achieving smooth, even concrete surfaces. Available parts may include levers, springs, and adjustment knobs.
Reviews
Add a review
Write Your Own Review
Ask a Question
Customer Questions

