Description
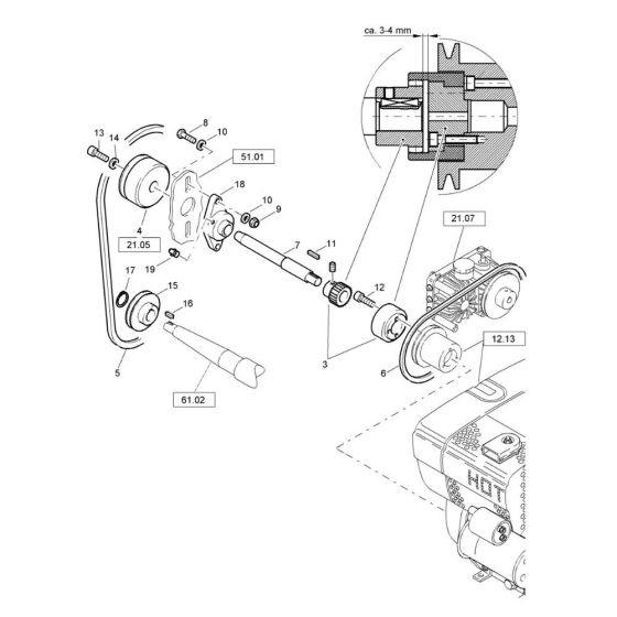
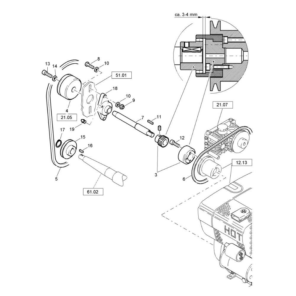
The Power Transmission Assembly for the Bomag BW 71 EHB-2 Roller ensures efficient operation and longevity. This assembly includes key components such as gears, shafts, and bearings, designed to transmit power effectively within the roller. Suitable for serial numbers 101620241059 to 101620249999, it supports optimal performance and reliability.
Reviews
Add a review
Write Your Own Review
Ask a Question
Customer Questions

