Description
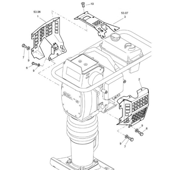
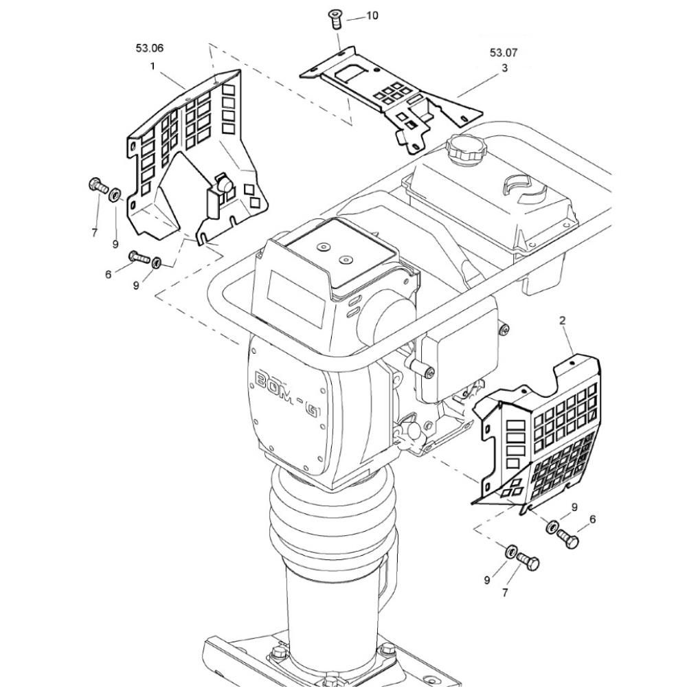
The Protection Plate for Bomag BT60/4 Rammers is designed to safeguard the machine's base during operation, reducing wear and tear on the rammer's components. This plate is essential for maintaining the longevity and efficiency of the equipment, ensuring optimal performance in compacting tasks. Available in both genuine and non-genuine options to suit different needs.
Reviews
Add a review
Write Your Own Review
Ask a Question
Customer Questions

