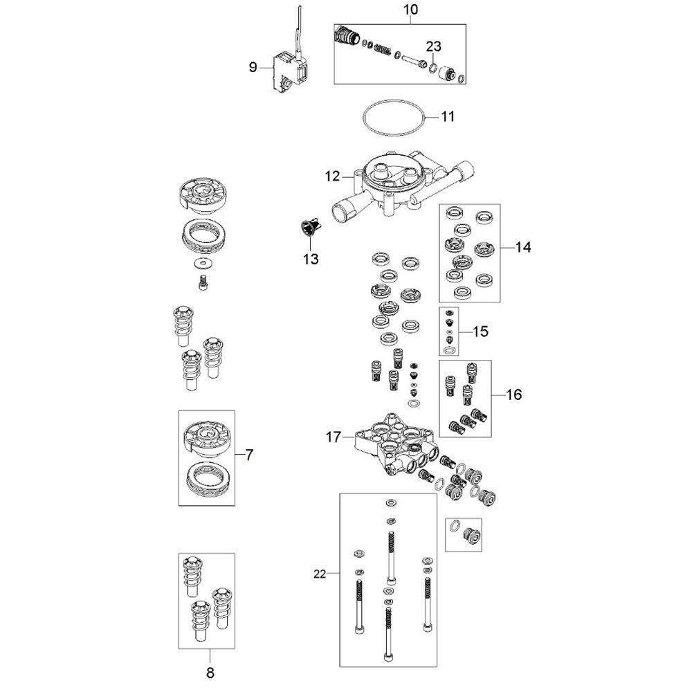
Description
The Pump Assembly for the Husqvarna PW 235 Pressure Washer is crucial for maintaining optimal water flow and pressure. This assembly includes components like seals, valves, and pistons, ensuring efficient operation and longevity of the pressure washer. Designed for easy installation and reliable performance, it helps in cleaning tasks ranging from patios to vehicles.
Reviews
Add a review
Write Your Own Review
Ask a Question
Customer Questions

