Description
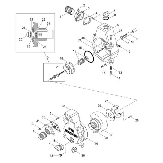
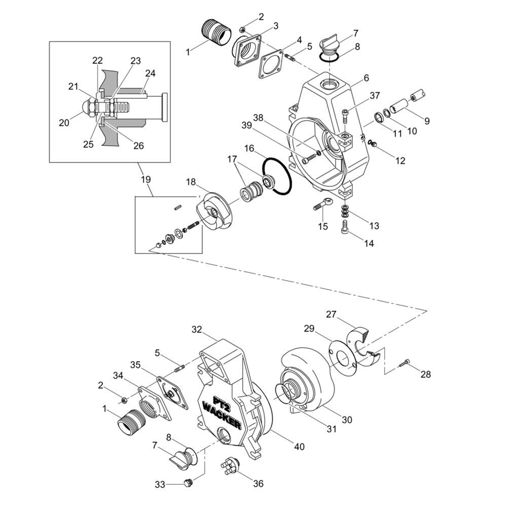
The Pump Assembly for the Wacker PT2Y Pump comprises genuine Wacker Neuson parts designed to ensure optimal performance and longevity. This assembly plays a crucial role in maintaining efficient fluid movement and includes components such as impellers, seals, and gaskets. Ideal for routine maintenance and repairs, it helps protect the pump from wear and tear.
Reviews
Add a review
Write Your Own Review
Ask a Question
Customer Questions

