Description
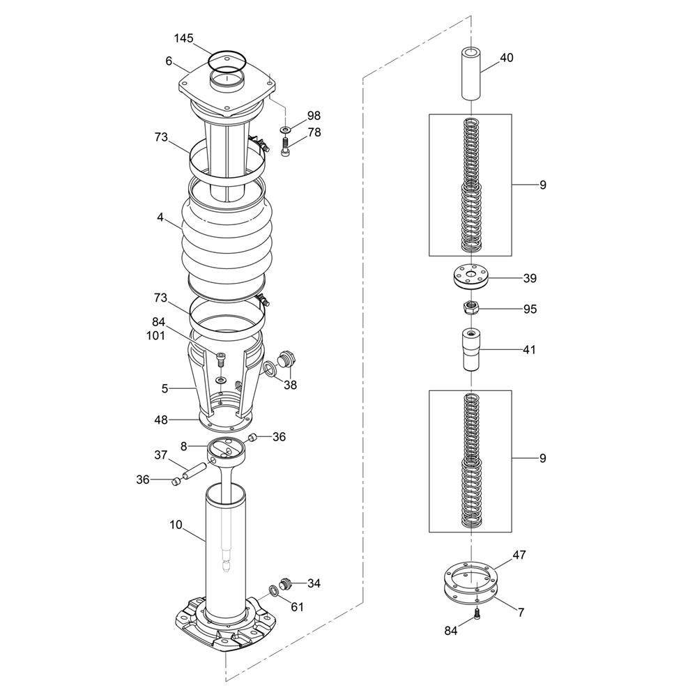
The Ramming System Assembly for the Wacker BS60-4s Trench Rammer is designed to ensure optimal performance and durability. This assembly includes key components that contribute to the effective operation of the rammer, such as pistons, springs, and seals. These parts work together to deliver powerful compaction, essential for construction and landscaping tasks.
Reviews
Add a review
Write Your Own Review
Ask a Question
Customer Questions

