Description
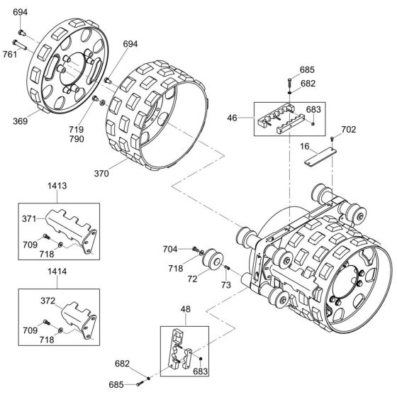
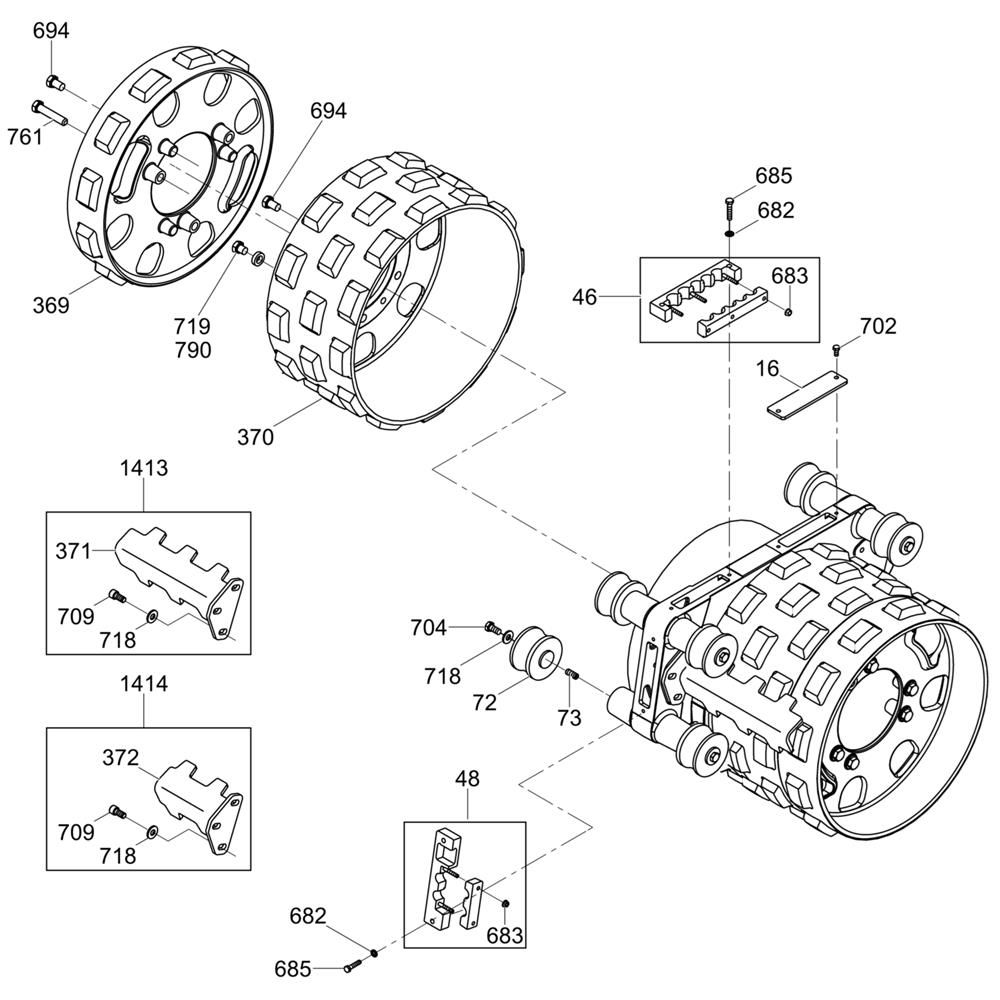
The Rear Drum Assembly for the Wacker RTx-SC2 Trench Roller is essential for maintaining optimal performance and stability. This assembly includes key components that ensure smooth operation and effective compaction. Designed for durability, it helps in distributing weight evenly and providing traction. Genuine Wacker Neuson parts ensure compatibility and reliability.
Reviews
Add a review
Write Your Own Review
Ask a Question
Customer Questions

