Description
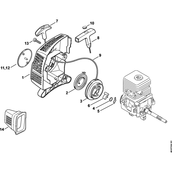
The rewind starter for the Stihl KM55 series KombiEngine ensures reliable starting performance. Designed for models KM55, KM55C, KM55R, and KM55RC, it includes components like the pulley, spring, and rope. This starter assembly is crucial for maintaining the efficiency and longevity of your KombiEngine. Genuine and non-genuine parts are available to suit various maintenance needs.
Reviews
Add a review
Write Your Own Review
Ask a Question
Customer Questions

