Description
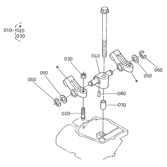
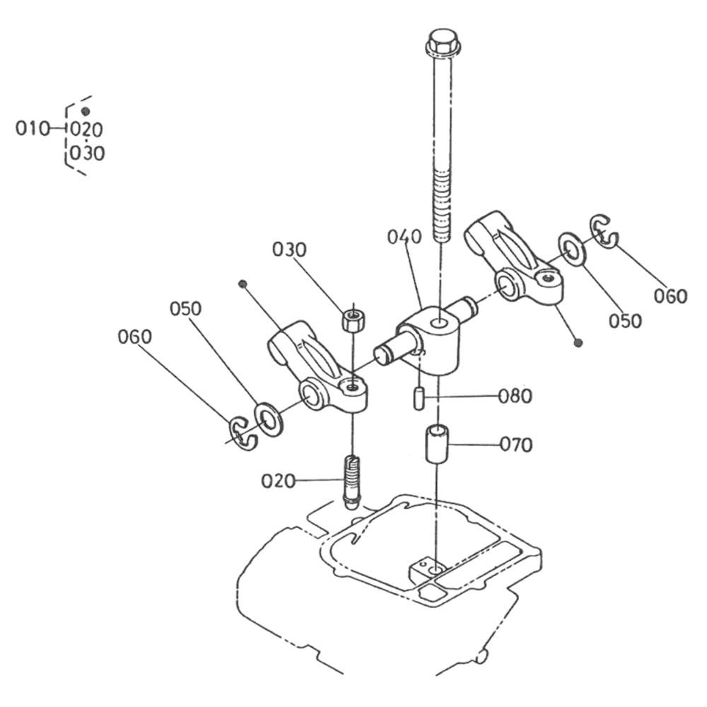
The Rocker Arm Assembly for the Kubota GH400 Engine is designed to ensure optimal engine performance and longevity. This assembly includes key components such as rocker arms, push rods, and springs, which work together to control the opening and closing of the engine's valves. Genuine Kubota parts ensure compatibility and reliability, maintaining the engine's efficiency and reducing wear.
Reviews
Add a review
Write Your Own Review
Ask a Question
Customer Questions

