Description
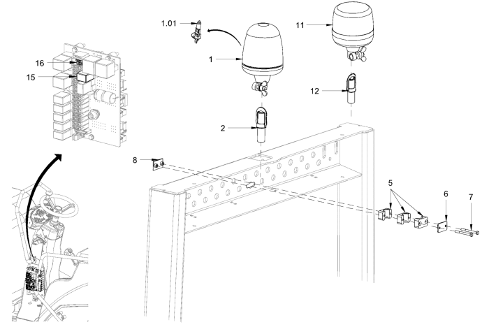
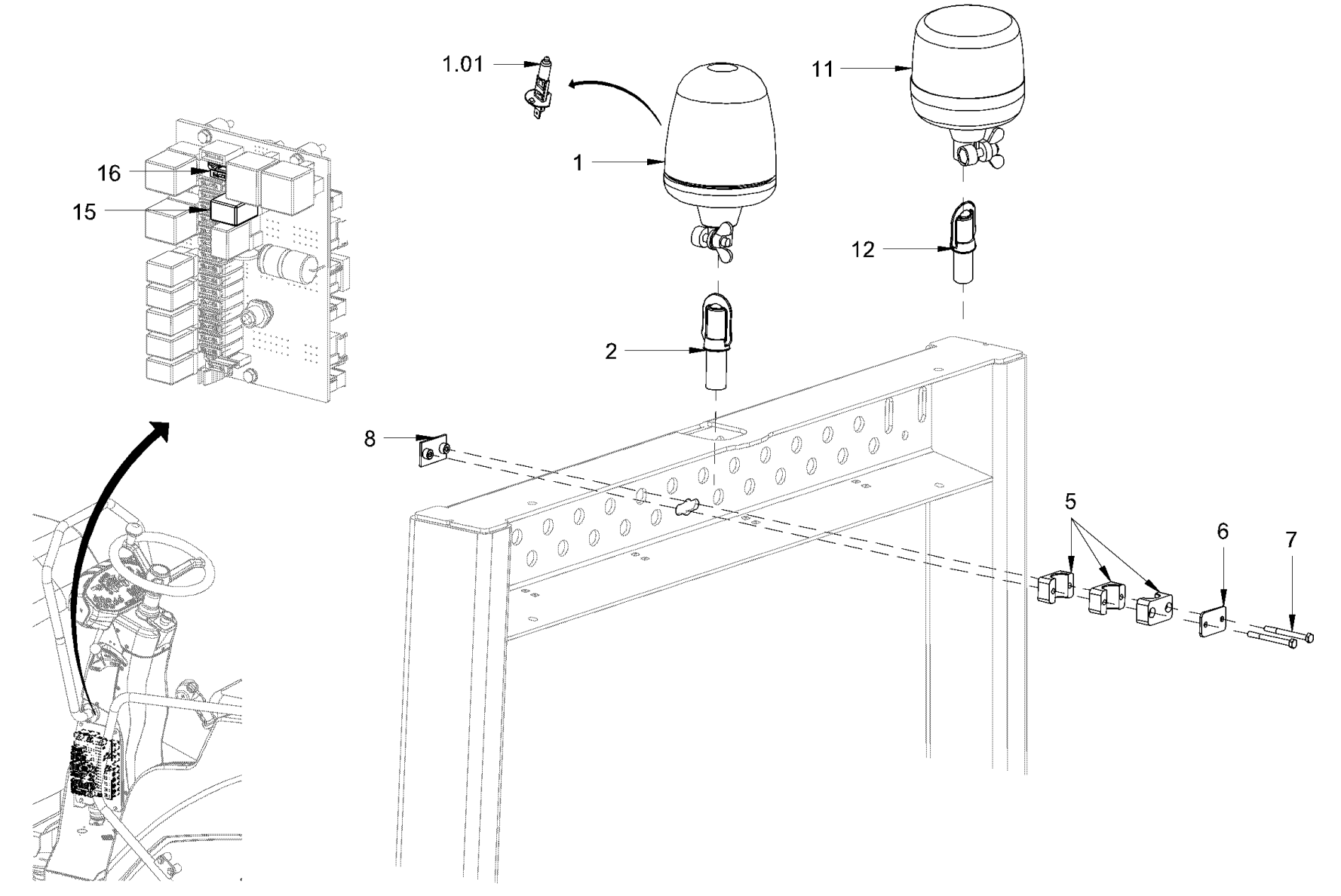
The Rotary Beacon for Hamm HD10 - 12 (H230) Rollers is designed to enhance visibility and safety during operation. Suitable for both genuine and non-genuine parts, this beacon ensures reliable performance in various working conditions. It is essential for maintaining compliance with safety standards and improving operational awareness on construction sites.
Reviews
Add a review
Write Your Own Review
Ask a Question
Customer Questions

