Description
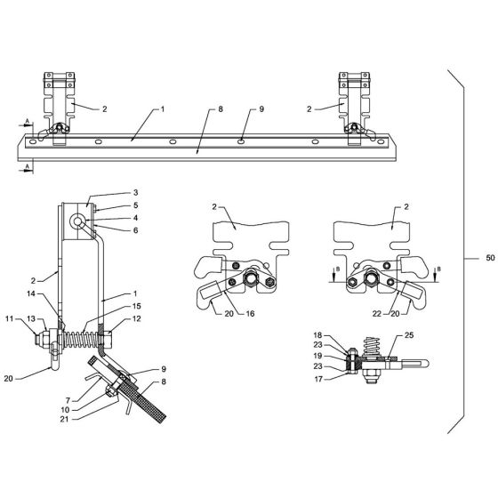
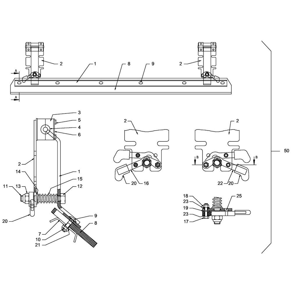
The Scraper Assembly for Hamm HD70 - 75 (H152) Roller is designed to maintain optimal performance by removing debris and preventing build-up on the roller surface. This assembly includes components such as blades and brackets, ensuring efficient operation and longevity of the roller. Suitable for regular maintenance and repair, it helps in keeping the roller clean and functional.
Reviews
Add a review
Write Your Own Review
Ask a Question
Customer Questions

